Product id: Troy bilt bronco best sale transmission
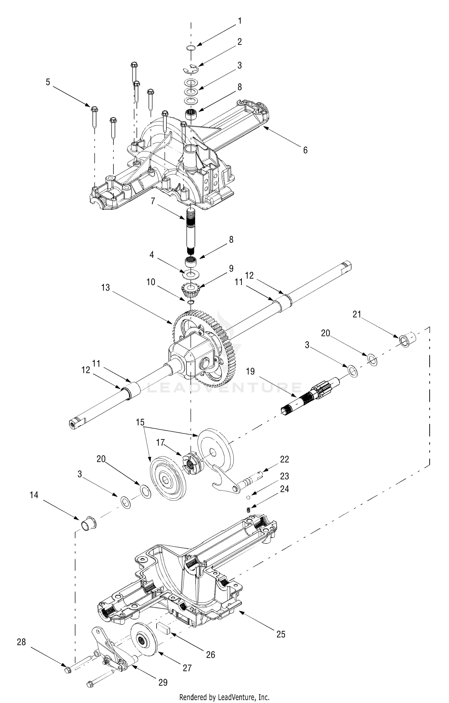
Troy Bilt 13WV78KS011 Bronco 2015 Parts Diagram for Transmission best sale, Troy Bilt 13AO77TG766 Bronco 2006 Parts Diagram for Transmission best sale, Troy Bilt 21D 64M8711 Bronco 2016 Parts Diagram for Transmission best sale, Troy Bilt 13AX60KH011 Super Bronco 2009 Parts Diagram for best sale, Troy Bilt 13WX78KS011 Bronco 2010 Parts Diagram for Drive best sale, MTD CYT4622SE 13APA1KT897 2015 13APA1KT897 CYT4622SE 2015 best sale, How to Install Transmission Drive Belt TroyBilt Bronco Tractor best sale, Troy Bilt 21C 65M1011 Super Bronco CRT Roto Tiller 2008 Parts best sale, Riding Mower Lower Transmission Belt 954 0467A Troy Bilt US best sale, Riding Mower Upper Transmission Belt Original Equipment Genuine Part OEM best sale, Riding Mower Upper Transmission Belt 490 501 Y087 Troy Bilt US best sale, Troy Bilt 12210 6.5 HP Super Bronco Transmission Housing Covers best sale, How to replace a drive belt on a troy bilt bronco lawn mower YouTube best sale, Troy Bilt 13WV78KS011 Bronco 2015 Parts Diagram for Transmission best sale, Troy Bilt Bronco 42 in. 547CC Engine Automatic Drive Gas Riding best sale, Riding Mower Lower Transmission Belt for 42 inch and 46 inch Cutting Decks Original Equipment Genuine Part OEM best sale, Troy Bilt 13WV78KS011 Bronco 2015 Parts Diagram for Transmission best sale, Troy Bilt Lawn Tractor Repair How to Replace the Transmission Pulley best sale, Troy Bilt Original Equipment Transmission Drive Belt for Select best sale, Troy Bilt Bronco. Automatic Transmission with Cruise Riding Mower best sale, Troy Bilt Super Bronco Upper and Lower Drive Belt Replacement best sale, Troy Bilt Bronco 46K 541cc Kohler Engine Auto Transmission 46 best sale, Troy Bilt Bronco. Automatic Transmission with Cruise Riding Mower best sale, TROY BILT BRONCO SINGLE SPEED TRANSMISSION TRANSAXLE 618 04133 best sale, Auction62 Troy Bilt Bronco 42 best sale, Pony 42 in. 15.5 HP Briggs and Stratton 7 Speed Manual Drive Gas Front Engine Riding Lawn Tractor best sale, troybilt bronco drive belt tension r smallengines best sale, Troy Bilt Bronco 42 Riding Lawn Mower Troy Bilt US best sale, Troy Bilt Bronco Transmission Oil change My Tractor Forum best sale, Amazon 954 04208A Upper Transmission Belt Replacement for best sale, Troy Bilt Bronco Transmission Oil change My Tractor Forum best sale, Troy Bilt 13AJ609G766 Bronco 2005 Transmission Assembly best sale, TROY BILT BRONCO SINGLE SPEED TRANSMISSION TRANSAXLE 618 04133 eBay best sale, Troy Bilt Bronco Riding Mower Drive Belt installation YouTube best sale, Troy Bilt Bronco 42 in. 547CC Engine Automatic Drive Gas Riding best sale, Troy Bilt 21A 643B011 Bronco CRT Roto Tiller 2007 Transmission best sale, Troy Bilt 13AX78KS011 Lawn Tractor Bronco 2010 best sale, How to Replace the Transmission Pulley on a Troy Bilt Pony Lawn Tractor Part 956 04002 best sale, Amazon 954 04208A Upper Transmission Belt Replacement for best sale, Troy Bilt Bronco Transmission Oil change My Tractor Forum best sale, Troy Bilt 21A 643B011 Bronco CRT Roto Tiller 2007 Transmission best sale, Riding Mower Upper Transmission Belt 490 501 Y007 MTD Parts best sale, Oregon 175 995 Transmission Drive Belt MTD Troy Bilt Bronco TB42 best sale, Troy Bilt Bronco. Automatic Transmission with Cruise Riding Mower best sale, Bronco 42 Troy Bilt Riding Lawn Mower 13WV78KS011 Troy Bilt US best sale, How do you change the drive belt on Troy bilt super bronco best sale, troybilt bronco drive belt tension r smallengines best sale, Troy Bilt Bronco Automatic Yard Mower Review Troy Bilt Bronco Review best sale, Troy Bilt Super Bronco 54 XP Riding Lawn Mower with 54 In Deck and Hydrostatic Transmission best sale, Troy Bilt 13AJ78BT066 Bronco 46T Auto 2019 Parts Diagram for best sale.
Troy Bilt 13WV78KS011 Bronco 2015 Parts Diagram for Transmission best sale, Troy Bilt 13AO77TG766 Bronco 2006 Parts Diagram for Transmission best sale, Troy Bilt 21D 64M8711 Bronco 2016 Parts Diagram for Transmission best sale, Troy Bilt 13AX60KH011 Super Bronco 2009 Parts Diagram for best sale, Troy Bilt 13WX78KS011 Bronco 2010 Parts Diagram for Drive best sale, MTD CYT4622SE 13APA1KT897 2015 13APA1KT897 CYT4622SE 2015 best sale, How to Install Transmission Drive Belt TroyBilt Bronco Tractor best sale, Troy Bilt 21C 65M1011 Super Bronco CRT Roto Tiller 2008 Parts best sale, Riding Mower Lower Transmission Belt 954 0467A Troy Bilt US best sale, Riding Mower Upper Transmission Belt Original Equipment Genuine Part OEM best sale, Riding Mower Upper Transmission Belt 490 501 Y087 Troy Bilt US best sale, Troy Bilt 12210 6.5 HP Super Bronco Transmission Housing Covers best sale, How to replace a drive belt on a troy bilt bronco lawn mower YouTube best sale, Troy Bilt 13WV78KS011 Bronco 2015 Parts Diagram for Transmission best sale, Troy Bilt Bronco 42 in. 547CC Engine Automatic Drive Gas Riding best sale, Riding Mower Lower Transmission Belt for 42 inch and 46 inch Cutting Decks Original Equipment Genuine Part OEM best sale, Troy Bilt 13WV78KS011 Bronco 2015 Parts Diagram for Transmission best sale, Troy Bilt Lawn Tractor Repair How to Replace the Transmission Pulley best sale, Troy Bilt Original Equipment Transmission Drive Belt for Select best sale, Troy Bilt Bronco. Automatic Transmission with Cruise Riding Mower best sale, Troy Bilt Super Bronco Upper and Lower Drive Belt Replacement best sale, Troy Bilt Bronco 46K 541cc Kohler Engine Auto Transmission 46 best sale, Troy Bilt Bronco. Automatic Transmission with Cruise Riding Mower best sale, TROY BILT BRONCO SINGLE SPEED TRANSMISSION TRANSAXLE 618 04133 best sale, Auction62 Troy Bilt Bronco 42 best sale, Pony 42 in. 15.5 HP Briggs and Stratton 7 Speed Manual Drive Gas Front Engine Riding Lawn Tractor best sale, troybilt bronco drive belt tension r smallengines best sale, Troy Bilt Bronco 42 Riding Lawn Mower Troy Bilt US best sale, Troy Bilt Bronco Transmission Oil change My Tractor Forum best sale, Amazon 954 04208A Upper Transmission Belt Replacement for best sale, Troy Bilt Bronco Transmission Oil change My Tractor Forum best sale, Troy Bilt 13AJ609G766 Bronco 2005 Transmission Assembly best sale, TROY BILT BRONCO SINGLE SPEED TRANSMISSION TRANSAXLE 618 04133 eBay best sale, Troy Bilt Bronco Riding Mower Drive Belt installation YouTube best sale, Troy Bilt Bronco 42 in. 547CC Engine Automatic Drive Gas Riding best sale, Troy Bilt 21A 643B011 Bronco CRT Roto Tiller 2007 Transmission best sale, Troy Bilt 13AX78KS011 Lawn Tractor Bronco 2010 best sale, How to Replace the Transmission Pulley on a Troy Bilt Pony Lawn Tractor Part 956 04002 best sale, Amazon 954 04208A Upper Transmission Belt Replacement for best sale, Troy Bilt Bronco Transmission Oil change My Tractor Forum best sale, Troy Bilt 21A 643B011 Bronco CRT Roto Tiller 2007 Transmission best sale, Riding Mower Upper Transmission Belt 490 501 Y007 MTD Parts best sale, Oregon 175 995 Transmission Drive Belt MTD Troy Bilt Bronco TB42 best sale, Troy Bilt Bronco. Automatic Transmission with Cruise Riding Mower best sale, Bronco 42 Troy Bilt Riding Lawn Mower 13WV78KS011 Troy Bilt US best sale, How do you change the drive belt on Troy bilt super bronco best sale, troybilt bronco drive belt tension r smallengines best sale, Troy Bilt Bronco Automatic Yard Mower Review Troy Bilt Bronco Review best sale, Troy Bilt Super Bronco 54 XP Riding Lawn Mower with 54 In Deck and Hydrostatic Transmission best sale, Troy Bilt 13AJ78BT066 Bronco 46T Auto 2019 Parts Diagram for best sale.